Aller au contenu

A la recherche du mouvement perpetuel : le magnéto-piston

Noter ce sujet


tiwi

Messages recommandés

Membre, 52ans Posté(e)
tiwi Membre 2 015 messages
Baby Forumeur‚ 52ans‚
Posté(e)

Bonjour à tous,

 

La première fois que je vous avait présenté le magnéto-piston à effet de champ répulsif, il se présentait comme cela:

MP1.png.fb10598a8294b0b66a285ab431f34d4c.png

Bien que, quand on passe un aimant dessus il semble que les polaritées forment le schémas ci-dessus, en réalité, le champ magnétique ressemble a ceci:

MP2.png.79d5185bde23458aa2be9326e3f4bcaa.png

De fait, pour un générateur, il est beaucoup plus intéressant de n'utiliser que la partie centrale:

MP3.png.2fab26d736d9c7e79310d1a4bb08107a.png


Contrairement à ce qui m'a été dit sur ce forum, mettre plusieurs aimants augmente le champs magnétique dans le fer. Pour le prouver, on peut observer le courant fourni par la bobine quand on multiplie les aimants ou bien observer le fonctionnement même d'une bobine car elle se comporte comme de multiple aimants collés les uns aux autres formant ainsi un champ magnétique global:

MP4.png.911c0cceace4f163d1a029c2ff66063a.png

Avec ce type de magnéto-piston, il faut que la bobine fasse la moitié de la taille du fer, voici les 3 étapes qui permettent de générer du courant. L'étape du milieu est donc une perte.

MP5.png.cd47153d150a7707e433d2af4fcef178.png

Les inconvénients sont que la bobine doit être le plus proche possible du magnéto-piston tout en ayant le moins de frottements possible (cela peut nécessiter de durcir la bobine avec de la résine ou du vernis) et, ce mouvement de va et vient perd l'inertie du mouvement, il est donc difficile d'envisager des fréquences élevées même en ajoutant un système de roulements à billes pour le déplacement du magnéto-piston. D'autant que, plus le champ magnétique passe vite plus il perd en capacité motrice.

Les avantages sont qu'il n'y a pas de pertes par effet d'hystérésis du fer et que le couple à fournir ne dépends plus principalement de la force d'attraction entre l'aimant et le fer mais de la masse du magnéto-piston et des frottements avec la bobine donc, on pourrait utiliser deux aimants d'une force de 200Kg tout en ayant un couple à fournir pour le déplacement d'un objet de 20 Kg.

Principe du générateur à magnéto-piston:

MP6.png.d3902e00c557ee322d9748cece9a4256.png

 

MP7.png.0644c18d7ef5f9f456d93176eae27675.png

Il y a d'autres moyens de fabriquer un magnéto-piston comme par exemple inclure les aimants directement dans un tube de métal:

MP8.png.d151b23e855184258fd118c2cc665316.png

Je n'ai pas eut encore le loisir de tester cette méthode et son implication sur le champ magnétique obtenu. Il est important d'ajouter des rondelles d'acier ou de la poudre d'acier afin que l'aimant ait un contact maximum avec l'acier, d'autant que les aimants axiaux ont un champ magnétique plus puissant sur leur face que sur leur bords.

Si ça intéresse quelqu'un, je peux fournir un fichier FreeCAD afin de créer les parties non métalliques du générateur à l'aide d'une imprimante 3D, cependant, il vaut faire le modèle 3D soi-même car les différents objets pourraient avoir des tailles différentes et c'est bien plus fun.

Mais, il y a encore mieux...
 

  • Haha 1
Lien à poster
Partager sur d’autres sites

Annonces
Maintenant
Membre, 66ans Posté(e)
pila Membre 18 571 messages
Baby Forumeur‚ 66ans‚
Posté(e)

Hein ?

J'avais une connaissance dans ma commune qui pensait avoir fabriqué une machine merveilleuse (il est décédé depuis). Mon plus vieux copain, professeur de physique quantique, maths et tout le reste m'a dit que le mouvement perpétuel n'existait pas.

  • Like 2
Lien à poster
Partager sur d’autres sites

Membre, scientifique, Posté(e)
Répy Membre 24 814 messages
scientifique,
Posté(e)
Il y a 3 heures, tiwi a dit :

...

Les inconvénients sont que la bobine doit être le plus proche possible du magnéto-piston tout en ayant le moins de frottements possible (cela peut nécessiter de durcir la bobine avec de la résine ou du vernis) et, ce mouvement de va et vient perd l'inertie du mouvement, il est donc difficile d'envisager des fréquences élevées même en ajoutant un système de roulements à billes pour le déplacement du magnéto-piston. D'autant que, plus le champ magnétique passe vite plus il perd en capacité motrice.

Les avantages sont qu'il n'y a pas de pertes par effet d'hystérésis du fer et que le couple à fournir ne dépends plus principalement de la force d'attraction entre l'aimant et le fer mais de la masse du magnéto-piston et des frottements avec la bobine donc, on pourrait utiliser deux aimants d'une force de 200Kg tout en ayant un couple à fournir pour le déplacement d'un objet de 20 Kg.

Il me semble que ton invention est du grand n'importe quoi !

Le champ magnétique au centre d'un solénoïde est donné par la relation :

B = muzéro x NI/L  où N est le nombre de tours, L la longueur de la bobine et I l'intensité du courant. mu zero est la permitivité magnétique du vide = 4 pi 10 exp-7.

Nulle part il est question de la proximité des spires avec le noyau. Donc il n'y a aucun problme de frottement mécanique à envisager dans ton dispositif !

Quant à seconde partie sur les "avantages", tu fais un tour de passe-passe sur l'hystérésis !

Enfin une force de 200 kg ça n'existe pas.  Si tu confonds masse et force, il faut retourner aux collège !

Modifié par Répy
  • Merci 1
Lien à poster
Partager sur d’autres sites

Membre, Le prendre au sérieux, nuit gravement à la santé, Posté(e)
azad2B Membre 5 932 messages
Le prendre au sérieux, nuit gravement à la santé,
Posté(e)

La fascination du magnétisme, les mystères (pour certains) de l'aimant et le mythe du mouvement perpétuel ont encore de beaux jours devant eux. Je suis prêt à parier que dans 10 000 ans, quand le premier quidam venu en saura bien plus que les Prix Nobel d' aujourd' hui il en restera encore qui, toujours, chercheront ....

Lien à poster
Partager sur d’autres sites

Membre, 59ans Posté(e)
obelix39 Membre 584 messages
Baby Forumeur‚ 59ans‚
Posté(e)
Il y a 21 heures, pila a dit :

Hein ?

J'avais une connaissance dans ma commune qui pensait avoir fabriqué une machine merveilleuse (il est décédé depuis). Mon plus vieux copain, professeur de physique quantique, maths et tout le reste m'a dit que le mouvement perpétuel n'existait pas.

Et moi qui pensais que l'Univers était en mouvement perpétuel ... :o

Lien à poster
Partager sur d’autres sites

Membre, Posté(e)
holdman Membre 2 233 messages
Baby Forumeur‚
Posté(e)

il faut se retirer ça de la tête le mouvement "perpétuel" existe pas car il faut trouver une source d'énergie ou il n'y en a pas .

Modifié par holdman
Lien à poster
Partager sur d’autres sites

Membre, scientifique, Posté(e)
Répy Membre 24 814 messages
scientifique,
Posté(e)
il y a 1 minute, holdman a dit :

il faut se retirer ça de la tête le mouvement "perpétuel" existe pas car il faut trouver une source d'énergie ou il n'y en a pas .

Mais les inventeurs "de génie" ignorent ou veulent ignorer les principes les plus élémentaires de la physique.

Ils ne savent pas que les frottements en mécanique sont inéluctables et ont toujours le dernier mot pour arrêter un mouvement qui ne peut donc être jamais perpétuel.

Régulièrement sur ce forum, il arrive un illuminé qui dit avoir trouvé (ou presque)

Et tout est dans le "presque" !

  • Like 1
Lien à poster
Partager sur d’autres sites

Membre, 126ans Posté(e)
chanou 34 Membre 26 398 messages
Maitre des forums‚ 126ans‚
Posté(e)
il y a 18 minutes, Répy a dit :

Mais les inventeurs "de génie" ignorent ou veulent ignorer les principes les plus élémentaires de la physique.

Ils ne savent pas que les frottements en mécanique sont inéluctables et ont toujours le dernier mot pour arrêter un mouvement qui ne peut donc être jamais perpétuel.

Régulièrement sur ce forum, il arrive un illuminé qui dit avoir trouvé (ou presque)

Et tout est dans le "presque" !

Sur les forums de Futura-Sciences  le sujet est banni, les fils sont fermés aussitôt qu'ouverts et renvoyés vers un épinglé explicatif. C'est peut-être pour ça qu'ils atterrissent ici. :D

  • Like 3
Lien à poster
Partager sur d’autres sites

Membre, Grégairophobe..., Posté(e)
Mite_Railleuse Membre 42 088 messages
Grégairophobe...,
Posté(e)

Z'êtes que des incultes, je l'ai trouvé, moua, le mouvement perpétuel, et aucun frottement n'en viendra jamais à bout !! Suffit qu'il y ait tout le temps une tarte citron meringuée dans le frigo et je serais toujours en perpétuel mouvement, pour me jeter dessus... f-0-162.gif?w=37&zoom=2

  • Haha 2
Lien à poster
Partager sur d’autres sites

Invité philkeun
Invités, Posté(e)
Invité philkeun
Invité philkeun Invités 0 message
Posté(e)

Bah pas gave que ça foire, son truc, reviendra en 2ème semaine avec une autre idée : le pisto-magnéton...

Lien à poster
Partager sur d’autres sites

Invité
Invités, Posté(e)
Invité
Invité Invités 0 message
Posté(e)
il y a 10 minutes, Mite_Railleuse a dit :

Z'êtes que des incultes, je l'ai trouvé, moua, le mouvement perpétuel, et aucun frottement n'en viendra jamais à bout !! Suffit qu'il y ait tout le temps une tarte citron meringuée dans le frigo et je serais toujours en perpétuel mouvement, pour me jeter dessus... f-0-162.gif?w=37&zoom=2

C'est une variante du théorème de Jean-Claude Van Damme, qui lui utilisait les cacahuètes et les bières. 

Lien à poster
Partager sur d’autres sites

Membre, Grégairophobe..., Posté(e)
Mite_Railleuse Membre 42 088 messages
Grégairophobe...,
Posté(e)
il y a 12 minutes, PLS maker a dit :

C'est une variante du théorème de Jean-Claude Van Damme, qui lui utilisait les cacahuètes et les bières. 

Les grands esprits, toussa... f-0-162.gif?w=37&zoom=2

Lien à poster
Partager sur d’autres sites

Invité
Invités, Posté(e)
Invité
Invité Invités 0 message
Posté(e)

Vous êtes tous aware :happy:

Lien à poster
Partager sur d’autres sites

Membre, 52ans Posté(e)
tiwi Membre 2 015 messages
Baby Forumeur‚ 52ans‚
Posté(e)

Pour Répy, essaye de passer de la théorie à la pratique et tu verras que ce que tu dis n'as aucun sens. C'est l'évidence même, crée une bobine sans noyau ferreux et une avec, tu comprendras peut-être...

Pour les autres, mêmes interêts et spéculations d'interventions qu'il y a 6 ans, bravo, vous avancez....

D'ailleurs Répy, pour revenir sur ton intervention qui est somme toute la plus interessante, essaye un tube de mu-métal rempli d'un materiau diamagnétique et dis moi comment ta théorie peut coller à ça... (j'aimerais essayer mais le mu-métal, c'est introuvable).

Modifié par tiwi
Lien à poster
Partager sur d’autres sites

Membre, Le prendre au sérieux, nuit gravement à la santé, Posté(e)
azad2B Membre 5 932 messages
Le prendre au sérieux, nuit gravement à la santé,
Posté(e)
Il y a 1 heure, tiwi a dit :

(j'aimerais essayer mais le mu-métal, c'est introuvable).

Tu as très mal cherché ! Le µ-métal se trouve à la casse dans les vieux oscilloscopes analogique entre autre. Pour cette application, on construit un tube vaguement cylindrique dans lequel on loge le tube cathodique. Ainsi, le faisceau d' électrons à l'intérieur du tube est à l' abri des champs magnétiques extérieurs qui pourraient dévier le faisceau d' électrons pendant leur voyage vers la face avant du tube. Sont principal défaut, hormis son prix, est sa grande fragilité vis à vis des chocs et surtout des efforts mécaniques. Déformé ou heurté trop violemment sa perméabilité baisse beaucoup et définitivement. On ne peut donc pas l' usiner. Mais je crois tout de même qu'il existe des moyens pour lui redonner son µ après un usinage par exemple.

Cela étant, pourquoi penses-tu que du M-métal pourrait t' être utile dans tes expériences ? 

Modifié par azad2B
Lien à poster
Partager sur d’autres sites

Membre, Posté(e)
holdman Membre 2 233 messages
Baby Forumeur‚
Posté(e)

c'est dingue même le terme de mouvement perpétuel est  impossible car personne ne pourra constater que ce  mouvement  existe encore quant la terre sera "morte".

Lien à poster
Partager sur d’autres sites

Membre, 52ans Posté(e)
tiwi Membre 2 015 messages
Baby Forumeur‚ 52ans‚
Posté(e)

Salut azad2B, c'est parce qu'il me semble que c'est le matériau le plus paramagnétique connu mais peut-être effectivement trop pour l'utiliser avec une bobine.

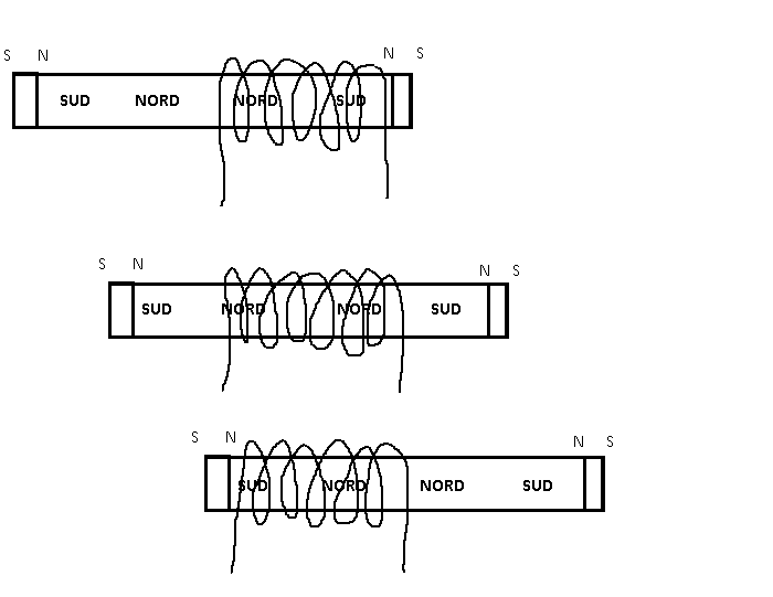
Pour Répy, avec tes théories, serait-il possible de me prédire le comportement d'une bobine fabriquée comme ceci:

MP9.png.7bbd91de7e27bf0034f1916185380c3c.png

Lien à poster
Partager sur d’autres sites

Membre, Le prendre au sérieux, nuit gravement à la santé, Posté(e)
azad2B Membre 5 932 messages
Le prendre au sérieux, nuit gravement à la santé,
Posté(e)

 

Quand je regarde ton schéma, je suis plutôt dans l’ expectative ! Et je me permet de te demander quelques explications, parce que je doute que qui que ce soit, y comprenne quelque chose.

Donc pour quelqu’un qui comme moi est habitué à étudier des dispositifs électroniques cela pourrait se traduire comme cela.

On aurait, en partant du noyau :

1- Le noyau lui-même que l’on va supposer cylindrique.

2- Autour de lui, bobinée en rangs serrés, une bobine de fil de cuivre.

3- Autour de cette bobine, un cylindre d’ acier entourant l’ensemble.

4- Autour de ce cylindre, fait d’une feuille d’ acier, une autre bobine de fil de cuivre.

Est-ce bien cela que je vois ?

Alors les deux bobines sont-elles en série ? Donc parcourues par le même courant ?

Ce courant qu’est-il ? Continu ? alternatif ?

Concernant le noyau, que voit-on ?

1- Un cylindre de fer à gauche qui n’est pas un aimant mais qui curieusement a des polarisés N et S

2- un aimant cylindrique avec ses polarisés indiquées N et S

3- Un autre cylindre en fer qui lui aussi a des polarisés magnétiques  N S S N

4- Un nouvel aimant et pour finir un ultime cylindre en fer.

Question si les cylindres en fer sont des aimants, pourquoi ne le dis-tu pas ?

Ton cylindre central, semble formé de deux blocs aux polarisés opposées, Est-ce que je me trompe ? Au vu de son assemblage, il semblerait que son architecture viserait à former la bête rare, j’ai nommé un aimant doté de deux pôles identiques. Ici, dans ton cas, deux pôles Nord.

Ca fait beaucoup de questions, et connaissant Répy, je suis prêt à parier qu’il t’aurait posé les mêmes

Mais déjà, si ton noyau central est déjà réalisé et qu’il répond à son objectif, je peux t ‘affirmer que tu viens de réaliser un exploit. Tu as réalisé ce que les physiciens jugent possible mais qu’ils n’ont encore jamais observé : un monopole magnétique.

Aies donc au moins la gentillesse de confirmer l’intégralité des 8 suppositions formulées ci-dessus. On en discutera ensuite, si tu fais cela, sans réponses n' attends plus notre intervention.

Lien à poster
Partager sur d’autres sites

Membre, Le prendre au sérieux, nuit gravement à la santé, Posté(e)
azad2B Membre 5 932 messages
Le prendre au sérieux, nuit gravement à la santé,
Posté(e)

Et aussi, mais ce qui pour toi semble anecdotique a peut-être une certaine importance : à quoi est reliée ta bobine ? Pas un mot la dessus, voilà une omission qui au mieux  semble étrange, au pire cache ce que tu souhaites cacher.

Lien à poster
Partager sur d’autres sites

Annonces
Maintenant

Rejoindre la conversation

Vous pouvez publier maintenant et vous inscrire plus tard. Si vous avez un compte, connectez-vous maintenant pour publier avec votre compte.

Invité
Répondre à ce sujet…

×   Collé en tant que texte enrichi.   Coller en tant que texte brut à la place

  Seulement 75 émoticônes maximum sont autorisées.

×   Votre lien a été automatiquement intégré.   Afficher plutôt comme un lien

×   Votre contenu précédent a été rétabli.   Vider l’éditeur

×   Vous ne pouvez pas directement coller des images. Envoyez-les depuis votre ordinateur ou insérez-les depuis une URL.

Chargement

×