Aller au contenu

traduction d'un document en allemand


nanar23

Messages recommandés

Membre, 38ans Posté(e)
nanar23 Membre 2 messages
Baby Forumeur‚ 38ans‚
Posté(e)

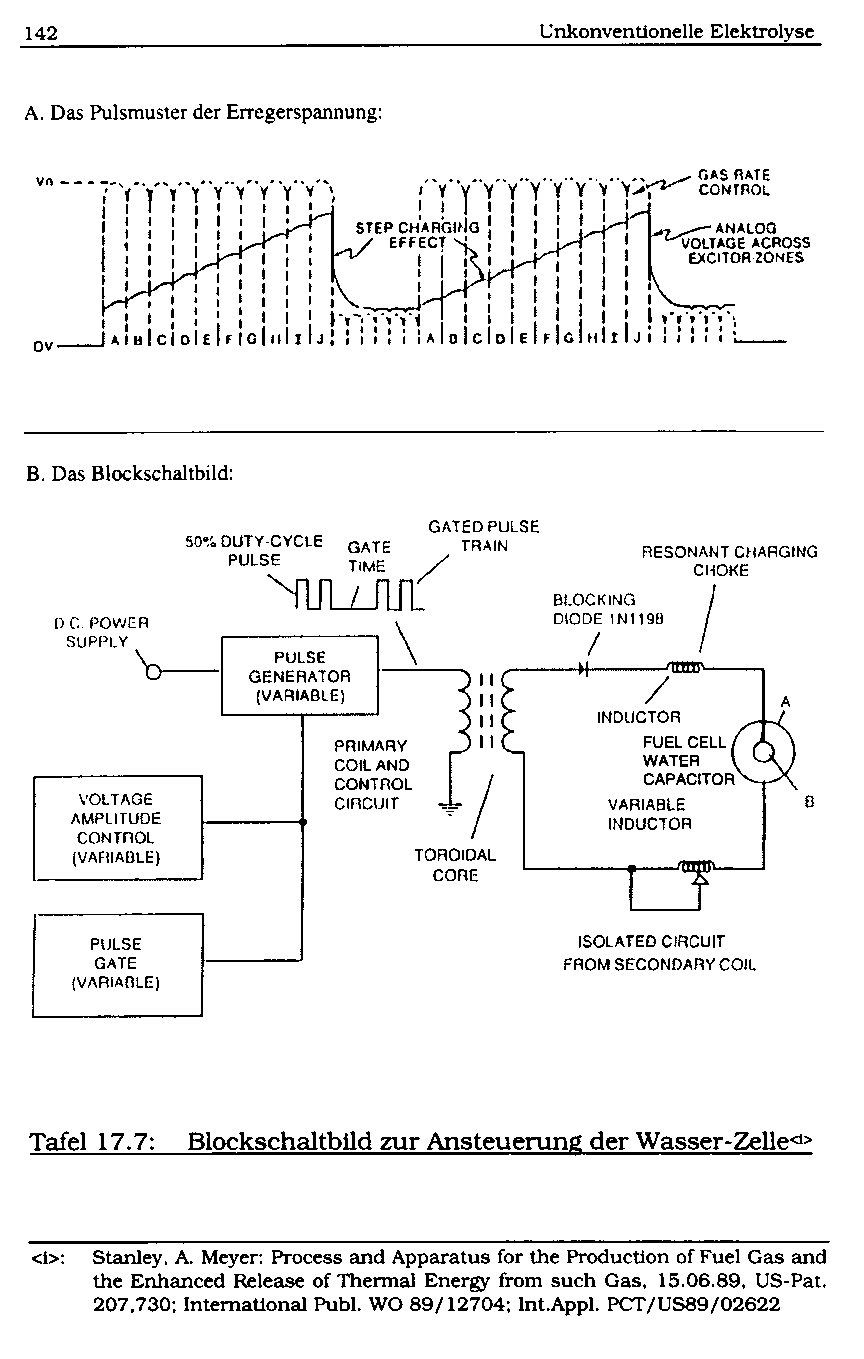
Salut à tous, j'aurais voulut de l'aide pour traduire des documents techniques qui sont en allemand car je ne parle pas un mot d'allemand. Alors si vous pouvez m'aider merci par avance.

:snif:

post-70465-1214512117_thumb.png

post-70465-1214512125_thumb.png

post-70465-1214512133_thumb.png

Lien à poster
Partager sur d’autres sites

Annonces
Maintenant

Archivé

Ce sujet est désormais archivé et ne peut plus recevoir de nouvelles réponses.

×